
陆嘉诚 上海邦信阳中建中汇律师事务所 律师助理
1
清算义务人的概念
清算义务人是指基于其与公司之间特定的法律关系,而在公司解散时对公司负有依法组织清算的义务,并在公司未及时清算给相关权利人造成损害时依法承担相应责任的民事主体。[1] 新出台的《民法总则》首次界定了“清算义务人”的概念,《民法总则》第七十条规定,“法人解散的,除合并或者分立的情形外,清算义务人应当及时组成清算组进行清算。法人的董事、理事等执行机构或者决策机构的成员为清算义务人。法律、行政法规另有规定的,依照其规定。清算义务人未及时履行清算义务,造成损害的,应当承担民事责任;主管机关或者利害关系人可以申请人民法院指定有关人员组成清算组进行清算。”
也就是说,一般情况下,法人的董事、理事等执行机构或者决策机构的成员为清算义务人,除非法律另有规定。此处的“法律、行政法规另有规定”可以指向公司法第183条以及《公司法司法解释(二)》第18-20条,根据前述规定,有限责任公司的清算义务人是其股东和实际控制人,股份有限公司的清算义务人是其董事、控股股东和实际控制人。
2
相关概念的厘清
此处有几个概念需要进一步厘清:
(一)此处的股东不包含隐名股东,仅仅指的是显名股东,即在公司章程、股东名册和工商登记文件中有记载姓名,具有股东身份的人。究其缘由,清算义务人的义务是在公司发生了解散事由后产生的,其目的在于清理债权债务,注销公司,而清算是一个涉及多方的过程,不仅包含股东、高管、职工等公司内部人员,还包括债权人、税务、工商等外部人员,因此,显名股东作为义务人履行义务,承担责任,可以起到公示公信的效力,有助于清算中各项交易的安全稳定。而如果将隐名股东也作为清算义务人,则会导致清算中各项权属、责任的不清,同时也增加了清算的成本。
(二)控股股东的认定。依据《公司法》第216条第二项之规定,将控股股东分为绝对控股与相对控股。其中,绝对控股指的是出资额或持有股份占总数的百分之五十以上的股东,相对控股指的是出资额或者持有股份的比例虽然不足百分之五十,但其所享有的表决权已足以对股东会、股东大会的决议产生重大影响的股东。对于后者,《公司法》规定的较为原则,结合相关规定和实践案例,所谓“产生重大影响”的实质标准可以是有权决定董事会成员的组成,有权决定公司重大资产变动,甚至说在具有控制和被控制关系的两个公司中,如果该股东是这个控制公司的控股股东,那他也就是被控制公司的控股股东。
(三)实际控制人的认定。《公司法》第216条第三项规定,“实际控制人,是指虽不是公司的股东,但通过投资关系、协议或者其他安排,能够实际支配公司行为的人”。控股股东与实际控制人的根本区别在于是否直接持有公司股份,控股股东直接持有公司股份,而实际控制人不直接持有公司股份。实践中,实际控制人的认定往往比较困难,其原因在于,不同部门监管下,认定实际控制人的操作口径也有所不同,例如证监会对于“实际控制人”的鉴定标准为“能够对股东大会的决议产生重大影响或者能够实际支配公司行为的权力,其渊源是对公司的直接或者间接的股权投资关系[2]”,而深圳证交所则规定,“虽不是公司的控股股东,但通过投资关系、协议或者其他安排,能够实际支配公司行为的人[3]”为实际控制人。因此,若想主张实际控制人为清算义务人承担清算义务,也必须依据实际情形加以区分,无法一概而论。
3
清算义务人的义务
清算义务人需依法对公司的资产、负债、股东权益等进行清理和处置,了结各类法律关系,并最终消灭公司的法人资格。其义务内容大致如下:
(一)组织、召开股东会或股东大会,作出清算决议,启动清算程序。
(二)成立清算组,委任清算人。清算人是在公司解散后具体执行公司清算事务的主体,一般是一些中介机构,如清算事务所、律师事务所、会计师事务所等。
(三)监督清算。清算义务人是清算组的召集人,同时,如果违法清算,清算义务人需要对外承担相应的赔偿责任。因此,监督清算既是清算义务人享有的权利也是其应负担的义务。清算义务人需不定期召开清算组会议,听取、监督清算进展,并作出相应的决议。
4
清算义务人的民事责任
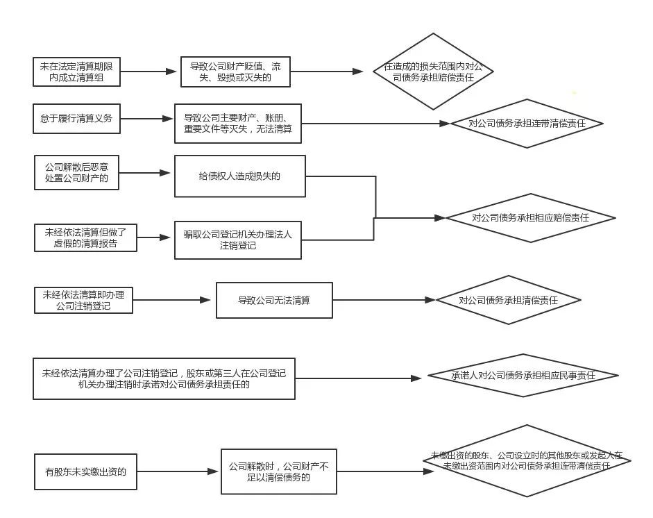
(一)清算责任
清算责任指的是股东对已发生解散事由的公司应当承担组织相关人员进行清算的责任。主要强调的是股东主动组织相关人员进行清算,及时启动清算程序的责任。在未依法组织清算、造成损害的的情况下,股东承担的清算义务则转化为清算责任,主管机关或者利害关系人可以申请人民法院指定有关人员进行强制清算。
(二)侵害侵权责任
根据《公司法解释二》第十八条、第十九条,将清算义务人的侵害侵权责任分成了不作为与作为的侵权责任。前者是清算义务人未在指定或法定期限内组成清算组而导致公司财产减少,需在减少的范围内向债权人承担赔偿责任,后者是清算义务人在清算中存在恶意、故意违法违规清算的行为,债权人可主张其对公司债务承担赔偿责任。
在司法实践中,清算义务人要承担侵害侵权责任其构成要件包括:
(1)公司发生依法应当清算的事由,而清算义务人未在法定期限内组织清算或者恶意处分公司财产,或者是未经依法清算而以虚假的清算报告骗取工商登记部门办理法人资格的注销登记。
(2)公司因清算义务人的上述行为导致财产的损失。关于该要件的举证责任分配,笔者认为应采举证责任倒置,由清算义务人举证证明公司财产未受到损失,若无法举证的,便推定债权人不能得到足额清偿的部分是由于公司财产受到损失导致的,从而使得清算义务人承担相应的责任。因为对于作为原告的债权人来说,是无法掌握公司的内部情况的,而公司的财务账簿、印章印鉴,档案资料都是掌握在清算义务人或清算组手里的,根据民诉法相关规定,书证在对方控制下的,若对方无法出示相关证据的,则推定另一方主张的事实成立。
(3)清算义务人存在错过。既然属于侵权责任,又非《侵权责任法》规定的无过错责任,则清算义务人必须存在过错方可要求其承担责任。笔者认为此处应采过错推定的方式,只要清算义务人违反了清算义务,未及时组织清算或发生了其它违法行为,就推定其存在过错,一方面可以防止清算义务人以不知道为由逃避清算,损害债权人利益,另一方面也是为了督促清算义务人及时启动清算程序。
(三)对公承诺的民事责任
根据《公司法司法解释二》第二十条,“公司未经依法清算即办理注销登记,股东或者第三人在公司登记机关办理注销登记时承诺对公司债务承担责任,债权人主张其对公司债务承担相应民事责任的,人民法院应依法予以支持”,实践中,在工商部门登记注销时,无论是否依法进行了清算,都会要求清算义务人签署保结承诺书。对此,笔者认为,如果公司未依法清算即注销的,清算义务人承诺保结的,在债权人主张债务时应承担相应责任。但如果,已经依法清算的,清算义务人出具保结承诺书只是为了履行行政手续的需要,则不应再承担任何法律责任。
(四)违反出资义务的民事责任
清算义务人是清算公司股东的,其尚未缴纳的出资均应作为清算财产。当公司财产不足以清偿债务时,债权人可以主张未缴出资股东,以及公司设立时的其他股东或者发起人在未缴出资范围内对公司债务承担连带清偿责任。
上述内容可见下图所示:

5
案例讨论
案例一[4]
2007年6月28日,存亮公司与拓恒公司建立钢材买卖合同关系。存亮公司履行了709万余元的供货义务,拓恒公司已付货款569万元,尚欠货款139万元。另,房恒福、蒋志东和王卫明为拓恒公司的股东,所占股份分别为40%、30%、30%。拓恒公司因未进行年检,2008年12月25日被工商部门吊销营业执照,至今股东未组织清算。现拓恒公司无办公经营地,帐册及财产均下落不明。拓恒公司在其他案件中因无财产可供执行被中止执行。且法院审理查明,蒋志东和王为明不参与公司实际经营。
该案中,存亮公司能否请求拓恒公司所有股东对其债务承担责任?承担怎样的侵权责任?
应当注意到,房恒福、蒋志东和王卫明三人为拓恒公司的股东,依据法律规定,有限责任公司的股东、股份有限公司的董事和控股股东,应当依法在公司被吊销营业执照后履行清算义务,即使蒋志东和王为明不参与公司实际经营,也不属于法定的责任免除事由,因此,不能以其不是实际控制人或者未实际参加公司经营管理为由,免除清算义务。法院最终判决房恒福、蒋志东和王卫明三人对拓恒公司的上述债务承担连带清偿责任。
案例二[5]
雅美公司进行解散清算,姜贵军为该公司股东,其作为原告状告该公司其它在册股东程祥华等人,姜贵军在一审中主张程祥华等人于2012年6月12日在姜贵军未参与的情况下对雅美公司剩余财产17991397元进行了清算分配,姜贵军按其持股比例应分得9733345.77元(17991397元×54.1%),但姜贵军只分得1246756.62元,尚有8486589.15元未进行分配,为此诉至法院,请求判令程祥华等被告将清算剩余资产人民币8486589.15元分配给姜贵军并承担连带偿还责任。二审期间,姜贵军确认其诉讼理由为程祥华等七人所召开的股东会决议无效,该股东会决议及此后成立清算组并进行的清算程序违法,严重侵害了姜贵军的合法权益。
该案中,原告诉请是否成立?
根据《公司法》第一百九十条及相关司法解释,提起清算责任纠纷诉讼的前提条件是公司债权人或公司的合法权益受到损害,公司债权人和公司可以提起清算责任纠纷诉讼,同时司法解释也规定,公司股东为了维护公司利益,也可以自己的名义提起清算责任纠纷诉讼。姜贵军系对清算公司的股东会决议存在异议而产生的纠纷,不属于清算责任纠纷,故其原告的主体资格不成立。因此,法院最终判决驳回姜贵军的起诉。

附注:
[1]《公司应清算但未清算时清算义务人须对公司债务承担负责》,《现代工商》2015年第12期78-79页;
[2]《〈首次公开发行股票并上市管理办法〉第十二条“实际控制人没有发生变更”的理解和适用—证券期货法律适用意见第1号》,证监法律字〔2007〕15号文,第二条;
[3]《深圳证券交易所创业板股票上市规则》,深证上〔2018〕556号文,第17.1条;
[4] 2012年最高人民法院发布第三批指导性案例之案例九;
[5] (2015)黑高商终字第97号。
【本文仅作为交流学习之目的使用,文中观点不代表本所立场,亦非作者的正式法律意见。本文系邦信阳中建中汇律师原创文章,转载请完整注明作者信息及出处。】
